Вопрос:
1. Какое сечение называется вынесенным? наложенным?
2. Линией какой толщины обводят вынесенное сечение? наложенное?
3. Как обозначают сечения?
4. Как показывают на сечении отверстия и углубления, ограниченные поверхностью вращения, если секущая плоскость проходит через их ось?
- 19.12.2016 20:28
- Другие предметы
- remove_red_eye 16768
- thumb_up 48
Ответы и объяснения 1
1) Вынесенные сечения являются предпочтительными и их допускается располагать в разрыве между частями одного и того же вида.
Наложенным называют сечением, которое располагают непосредственно на виде предмета. Контур наложенного сечения выполняют сплошной тонкой линией.
2) Контур вынесенного сечения, а также сечения, входящего в состав разреза, изображают сплошными основными линиями.
Контур наложенного сечения выполняют сплошной тонкой линией.
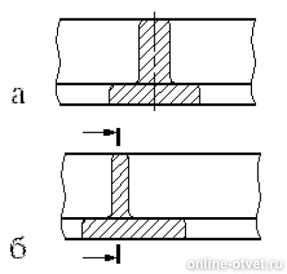
3,4)
1 Сечение вынесенное
2 Сечение наложенное
- 20.12.2016 16:57
- thumb_up 8
Знаете ответ? Поделитесь им!
Есть сомнения?
Не нашли подходящего ответа на вопрос или ответ отсутствует? Воспользуйтесь поиском по сайту, чтобы найти все ответы на похожие вопросы в разделе Другие предметы.
Трудности с домашними заданиями? Не стесняйтесь попросить о помощи - смело задавайте вопросы!
В данном разделе публикуются вопросы и ответы на них к непопулярным предметам.